نوآوری تویوتا برای افزایش جذابیت رانندگی خودروهای هیبرید

دوشنبه 15 دی 1404 - 20:00
مطالعه 3 دقیقه
نوآوری هیبریدی تویوتا
تویوتا اختراع جدیدی را به ثبت رسانده که نشان می‌دهد که نسل بعدی خودروهای هیبریدی‌ها قرار است رانندگی هیجان‌انگیزتری داشته باشند.
تبلیغات

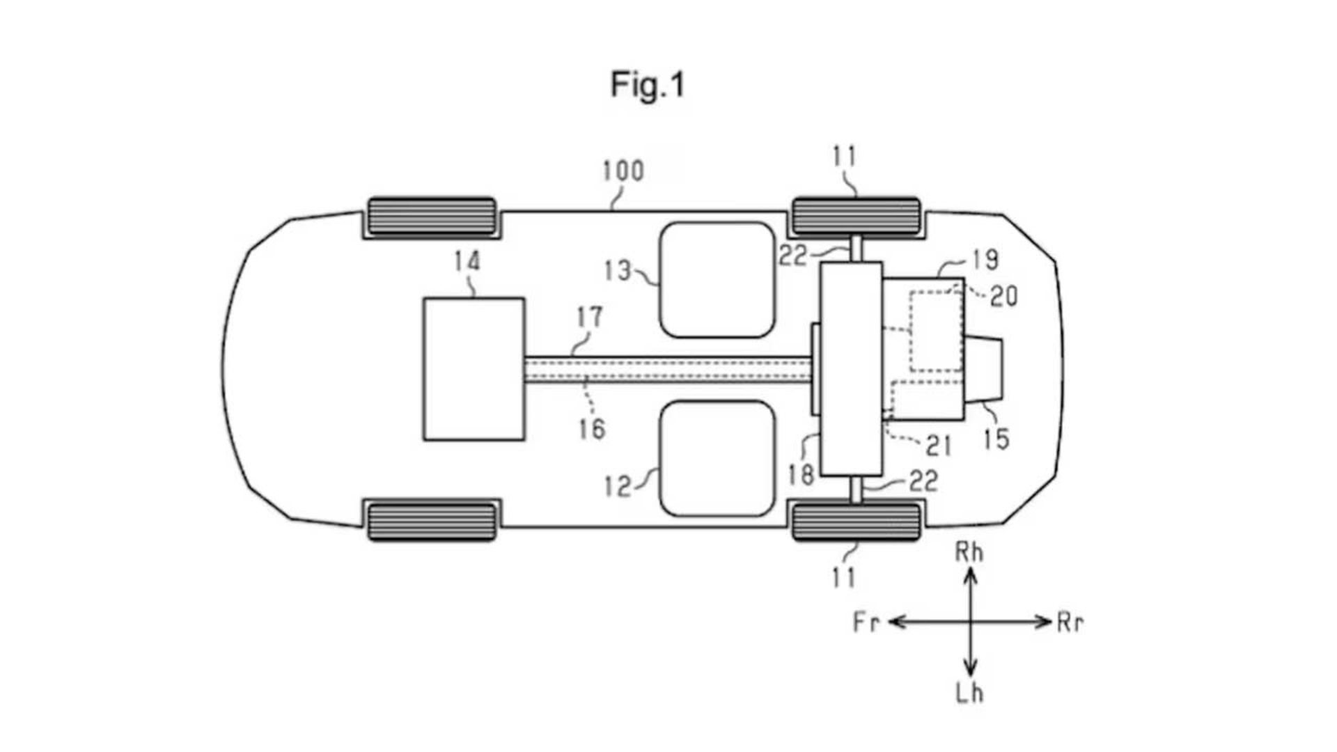
تویوتا در بازار خودروهای هیبریدی پادشاهی می‌کند و تقریباً تمام محصولاتش نسخهٔ هیبریدی هم دارند. فروش سال ۲۰۲۴ خیره‌کننده بوده و به نظر می‌رسد در سال ۲۰۲۵ هم این روند ادامه داشته باشد اما وقتی هیبریدها تبدیل به استاندارد بازار می‌شوند، خریداران دیگر فقط به دنبال مصرف سوخت کمتر نیستند. مشتریان امروزی، به‌ویژه آن‌هایی که سراغ مدل‌های رده‌بالای تویوتا یا لکسوس می‌روند، خودرویی می‌خواهند که روح داشته باشد؛ ماشینی که در پیچ‌ها تعادلش را حفظ کند و راننده را نترساند. تویوتا این خواسته را کاملاً احساس کرده است. طبق اسنادی که توسط اداره ثبت اختراعات ایالات‌متحده منتشر شده، تویوتا در حال کار روی یک معماری جدید است. این اختراع نه روی موتورهای عجیب‌وغریب بلکه روی چیدمان هوشمندانه قطعات تمرکز دارد تا هندلینگ و ایمنی را در خودروهای دیفرانسیل عقب متحول کند.

برخلاف بسیاری از خودروسازان که مدام موتورها را پیچیده‌تر می‌کنند، تویوتا در این طرح جدید صرفاً جای قطعات را عوض کرده است. در این چیدمان، موتور بنزینی همچنان در جلو قرار دارد و نیرو را از طریق میل‌گاردان به محور عقب می‌فرستد؛ جایی که موتور الکتریکی، گیربکس و دیفرانسیل انتظارش را می‌کشند؛ اما جادوی اصلی در بخش عقب خودرو رخ می‌دهد. در طرح‌های سنتی، باک بنزین و باتری اصلی هر دو در انتهای خودرو نصب می‌شدند اما تویوتا در این طرح، باک سوخت را به سمت مرکز خودرو (جلوتر از باتری) هل داده است و باتری سنگین‌وزن را دقیقاً روی محور عقب سوار کرده است. این تغییر شاید ساده به نظر برسد اما در دنیای دینامیک خودرو یک انقلاب کوچک است چون وزن باتری همیشه ثابت است اما وزن باک بنزین با مصرف سوخت تغییر می‌کند. وقتی باک به مرکز ثقل خودرو نزدیک‌تر باشد، خالی شدن آن تأثیر کمتری روی تعادل ماشین در پیچ‌ها می‌گذارد.

تویوتا مدعی است این آرایش جدید، مزایای ملموس دیگری هم دارد. با قرار گرفتن وزن ثابت باتری روی چرخ‌های عقب، چسبندگی تایرها هنگام شتاب‌گیری به طرز چشمگیری افزایش می‌یابد. این یعنی هرزگردی کمتر و شتاب اولیه سریع‌تر. از نظر ایمنی هم این یک حرکت هوشمندانه است. در صورت تصادف از عقب، باتری مثل یک سپر محافظ عمل می‌کند و ضربه را قبل از رسیدن به باک بنزین جذب می‌کند. این یعنی احتمال نشتی سوخت و آتش‌سوزی در تصادفات شدید کاهش می‌یابد. هنوز مشخص نیست این طرح دقیقاً در کدام مدل پیاده خواهد شد. شاید در سدان‌های اسپرت لکسوس یا نسل بعدی خودروهای دیفرانسیل عقب تویوتا شاهد آن باشیم. البته مثل همیشه، ثبت اختراع تضمینی برای تولید انبوه نیست اما نشان می‌دهد که تویوتا مصمم است تا ثابت کند هیبریدی‌ها می‌توانند هیجان‌انگیز هم باشند.

تبلیغات

نظرات

تبلیغات

©1405 - 1393 کپی بخش یا کل هر کدام از مطالب پدال تنها با کسب مجوز مکتوب امکان پذیر است.